从年初开始,博车App实用新功能就如春笋般上线,将今年会员服务月的主题【创“新”功能,贴“心”服务】践行到底。事故车会员朋友最不能错过的功能之一,就是配件平台的“事故车配件报价”功能。金杯银杯不如会员们的“口碑”,一起听听会员是怎么评价的吧~

“比市场价格还低”、“卖家服务好、有耐心”、“很方便,省时间”....这是一位西安的事故车会员对“事故车配件报价”服务的评价。这项“新生代”服务是怎样成功俘获一枚“铁粉”的呢?让我们一探究竟——
西安会员L先生前不久在博车成功拍下一台路虎神行者事故车,时值【事故车配件报价】功能全新上线,勇于尝新的他,成为第一批尝到这个功能甜头的买家。谈到成功采购配件的经历,L先生说道“报价单里的配件挺全的,基本包括了维修这台路虎需要的所有配件,而且是逐个配件报价,很细致”,加上配件细节描述得很清楚,引起了他的兴趣。由于是第一次尝试使用这个功能, L先生先在当地市场找了其他店“货比三家”,经过多方寻找后发现,要么价格高、要么不齐全需要自己东拼西凑,多重因素让他下定决心联系了原卖家。卖家耐心地给他拍摄小视频详细展示配件、如实介绍配件成色、对他提出的其他配件需求也尽量寻找,并给了一定的优惠。对于这次经历,L先生是这样说的:“虽然不是当面交易,但配件老板很实诚很热心,也很细心,和他沟通很顺畅,让我觉得很省心很踏实!”
与L先生有类似经历的还有南京的X老板,他买到了一批从北京发过来的捷豹XF配件,“卖家清楚地写明了每个配件的品类、成色、是否是原厂件,而且承诺保装车、7天可退换,这给我提供了保障,而且在修车之前我就通过这个报价单预估了维修费,方便我预估售价、提前把车子挂出去销售,到位!”

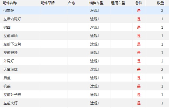
云南的Y先生也通过“配件报价”功能买到了一套维修大众途观L的配件,他表示,“我在博车拍事故车很多年了,有平台在中间做担保,交易有保障,我才放心买这批配件”..……
博车配件平台0服务费,最大程度让利会员。【配件报价】功能让事故车会员与优质的整单配件报价商完美对接,高效促成交易。即使未能达成配件交易,会员在拍到事故车后,也可根据卖家的配件报价,预估维修费用,计算销售价格和利润,做到心中有数。【配件报价】的每一笔交易,都抒写着买卖双方的共赢——
1、西宁事故车会员从北京买到一套别克英朗前嘴

2、南京许老板买到由北京丁老板销售的捷豹XF配件

3、云南杨老板买到由北京郭老板销售的大众途观L配件
